Google旗下Waymo研发出“压力膜”技术 自动驾驶的汽车撞到人会变软
Google旗下Waymo研发出“压力膜”技术,自动驾驶的汽车撞到人会变软
视频:Google旗下Waymo研发出“压力膜”技术,自动驾驶的汽车撞到人会变软
(蜘蛛网eeook.com报道)据ETtoday:不少车厂纷纷投入自动驾驶技术,但也有许多人质疑安全性,而Google(谷歌)也是开发自驾车的一员,为了让车辆能更友善对待路人,特地申请一项设计专利,当车快撞到行人时,其外壳会变得「柔软」降低对人的伤害。
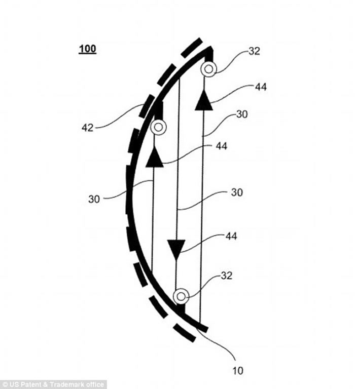
Google旗下负责此科技的Waymo申请一项专利,其研发出一种「压力膜」技术,用一层特殊外衣将车外壳包覆住,以电缆线、弹簧等有张力的零配件组成,透过放松、拉紧来调整车壳刚性,达到改变软硬度的效果,此技术主要作用在于,当系统侦测到车快撞到人时,车壳表面会变得柔软以降低碰撞伤害。
新功能主要运作模式为,感测系统会让把可能受冲击的部位,用放松张力来让外壳软化,就算煞不住撞上去,也能有效减少伤害性;但另一方面,若对象为车辆的话,此压力膜则仍保持一般硬度,确保自驾车上乘客的安全。
Waymo表示,新技术并非用来防止碰撞,最大目的是要降低撞击带来的伤害,若此安全专利能通过的话,未来有望应用在自动驾驶车上,届时民众便可稍稍减少对自驾车的疑虑。















