苹果智能手表专利曝光 或名iTime
苹果专利文件的其中一幅绘图
专利文件的绘图中有iTime字样
苹果专利文件的另一幅绘图
(蜘蛛网报道)美国周二公布的一项专利,令苹果已有智能手表的设计传言更益炽烈。
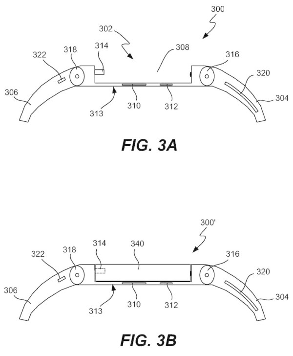
苹果公司向美国专利商标局提交专利文件的总结表示,这发明涉及一种电子手表。该专利描述一种腕带,很可能有触控屏幕,并能以无线方式连接到移动设备如智能手机。
这专利的披露,令传言指苹果有意以智能手表打入将兴旺的可穿戴电脑市场更形炽烈。苹果一直对有关产品计划三缄其口,但行政总裁库克多番表明,正在研制令人耳目一新的新产品,又表示他认为手腕是可穿戴电脑装置的首选位置。
智能手表的专利文件说,中央部位可以包括触控显示屏、控制电路和电池。触控显示屏可配置以显示用家视觉信息,及接收来自用家的输入信息。
据这份早于2011年1月底提交的专利文件,腕带的功能可能包括跟踪动作的传感器,甚至可以用手势落指令。申请文件附有的图表叫这装置做iTime。















